GEMFOREXの出金方法完全ガイド【サービス停止/出金遅延中】

GEMFOREXの利用警告

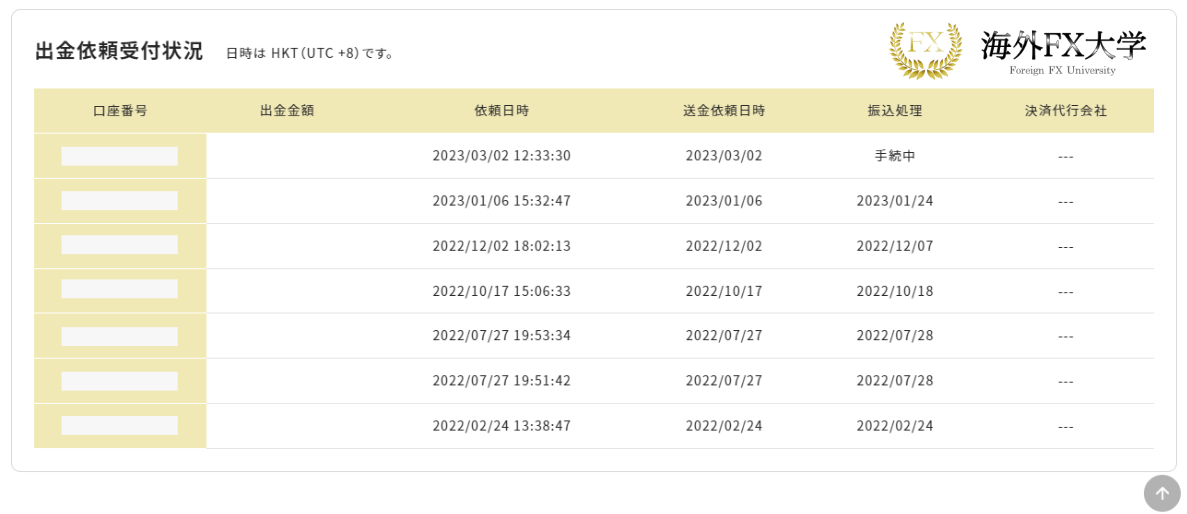
【GEMFOREXの出金遅延事件】
2022年、GEMFOREXが、集団利用規約違反者を一括で口座凍結したことが事件の発端となりました。違反者を調査する際に、無関係のトレーダーまで、追加書類の提出・出金遅延・取引不可・ログイン不可といった被害が及んでしまったようです。2023年現在は着金遅延を起こしたままサービスを停止しました。さらにTwitterアカウントが突然消える・年利5%の遅延損害金を付与するなど、スキャム業者かと疑われるような動きが続いています。2023年現時点での登録は絶対に止めてください。

・XMのスペックを見る / ・XMTrading公式サイト

・FXGTのスペックを見る / ・FXGT公式サイト

GEMFOREXのサービス停止画像

上記警告に対する投資診断士の意見
投資診断士のコメント
有識者齋藤大河
GEMFOREXは、直近で出金申請から処理完了までの時間が長くなっています。私も実際に体感しております。2023年3月に出金申請しましたが、2か月以上手続き中からステータスが変わりません。2023年現時点では、利用は絶対におすすめしません。出金拒否のないXMTradingFXGTを使うようにしてください。GEMFOREXの着金スピードが早まり次第、当サイトで皆さんにお知らせしますので、ブックマークしておいてくださいね。

出金申請から処理完了までの時間GEMFOREX出金遅延

gemforexの利用者投資家Aさん
GemForexの出金ってどうやるの?GemForexは出金トラブルがないかも知りたい・・・。高額出金も問題ない?

GemForexの出金方法はどうすれば良いのか詳しく知りたい方も多いでしょう。

この記事ではGEMFOREXの出金方法と注意点をまとめました。

有識者現役トレーダー
また、GEMFOREXは「出金拒否がある」というトラブルの噂の真偽に調査検証していますので、参考にしてみてください。
目次

GEMFOREXの出金方法別の手順・手数料・着金時間!おすすめはどれ?

GEMFOREXの出金方法を完全解説!手数料・着金時間は?GEMFOREXで現在利用できる出金方法は以下の方法のみとなっています。

出金方法 最低出金額 出金手数料 反映時間 出金限度額
銀行送金 1円 なし 1〜3営業日 なし
ビットコイン
(停止中)
0.1BTC なし 1〜3営業日
bitwallet
(停止中)
1円 なし 1〜3営業日

(※GEMFOREXでは基本的に出金手数料は無料です。ただし、国内銀行〜海外銀行間で中継・受取手数料がかかる場合があります。)

初心者投資家投資家Aさん
今は銀行送金でしか出金できないんだね。
有識者現役トレーダー
はい、ビットコインとbitwalletは長期間メンテナンス中になっています。

銀行送金の着金時間は「3営業日~5営業日」です。出金額が多い場合は確認のため着金までに時間がかかってしまいますが、それは他の海外業者も同じことなので仕方ありません。

次の方は出金手続き後2日間保留されましたが、それでもしっかり着金されています。

それでは実際に出金する手順を解説していきます。

GemForexで海外銀行送金を使って出金する手順

海外銀行で出金する手順

GemForexで海外銀行送金を使って出金する方法を画像を交えて解説していきます。

GEMFOREXにログインしたマイページを下にスクロールすると出金依頼の項目が表示されます。

出金依頼の項目

GemForexで銀行送金での出金を1度もしていない場合は、ご自身が開設している銀行口座の情報を入力する必要があります。

出金先情報が未入力です、登録はこちらから」と言う文章にあるリンクをクリックして出金先情報を入力しましょう。

リンク先を下にスクロールすると以下の画面が表示されるので必須と書かれた次の情報を入力していきます。

銀行情報を入力

入力必須な出金先情報
  • 銀行名
  • 支店名
  • 口座番号
  • 口座名
  • 銀行コード
  • 支店コード
  • スイフトコード
  • お客様現住所
  • 銀行所在国
  • 銀行住所

上記の内容はご自身の利用先の銀行のホームページや窓口から確認する必要があります
各自出金先の銀行の情報をお調べください。

登録が完了すると指定銀行口座が選択できるようになります。

指定銀行口座選択

出金したいGemForex口座から出金金額を入力した後、下にスクロールした先にある「上記出金ルールについて同意します」というボタンにチェックを入れてください。

上記出金ルールについて同意します

最後に「上記内容にて出金する」と書いたボタンがあるのでクリックするとGEMFOREXに出金リクエストが送られます。

出金リクエスト

リクエストの送信が完了するとGEMFOREXからメールが届きますので、メール内に記載された確認URLをクリックすれば銀行送金での出金手順は完了です。

楽天銀行や三菱UFJ銀行、三井住友銀行、SBI銀行、ソニー銀行などは出金に対応していますが、以下の銀行へは出金不可です。

銀行送金での出金不可の銀行
  • みずほ銀行(ネット支店)
  • ゆうちょ銀行
  • 新生銀行
  • セブン銀行
  • ジャパンネット銀行
  • じぶん銀行

上記の銀行は海外送金を受け付けていません。出金先として登録できないので気を付けましょう。

GemForexでビットコインを使って出金する手順

ビットコインで出金する手順

GemForexでビットコインを使って出金する手順を解説します。
※ビットコインの出金は現在メンテナンスにより停止中です。

出金方法 最低出金額 出金手数料 反映時間
ビットコイン決済 1円 なし(0円) 1営業日~3営業日

ビットコインを利用した出金は銀行送金と比較しても簡単に行うことができます。

銀行送金同様にGemForexマイページを下にスクロール、または左のメニューバーにある「ご出金」をクリックしてもOKです。「ご出金」をクリック

すると下記画面が表示されますので必要事項を記入しましょう。

必要事項を記入

ビットコインアドレスとは、出金先の取引所や個人で管理するウォレットのアドレスのことです。

各自ご利用のサイトでアドレスを調べましょう。それ以外は銀行送金と同じ手順です。

出金したいGemForex口座を選択し、出金金額を入力します。その後、下にスクロールした先にある「上記出金ルールについて同意します」ボタンにチェックを入れてください。

上記出金ルールについて同意します

「上記内容にて出金する」ボタンをクリックするとGEMFOREXに出金リクエストが送られます。

GEMFOREXに出金リクエスト

リクエストの送信終わると、GEMFOREXから届くメール内に記載された確認URLをクリックすればビットコイン決済での出金は完了です。
 

GemForexのbitwallet出金は停止中

bitwalletの出金は停止中

出金方法 最低出金額 出金手数料 反映時間
bitwallet 1円 無料 1営業日~3営業日

GEMFOREXではbitwalletでの出金は、現在利用できません。

公式ホームページではメンテナンスを書いてありますが、実質利用停止に近いのが現状です。

どうやらbitwalletを通じてクレジットカードを不正利用するトレーダーが多いのが理由とのこと。

GemForexではクレジットカードでの出金は不可

クレジットカードでの出金は不可GEMFOREXではクレジットカードを使った出金は不可です。

GEMFOREXでクレジットカード入金したものは銀行送金することになります。

海外FXではマネーロンダリングによる不正な現金化を防ぐため入出金の方法は統一するのが一般的です。

GEMFOREXではマネーロンダリングによる不正な現金化を防ぐ方法として、出金申請の時に「入金に使用したクレジットカードの表面の画像」を提出することになる点は知っておきましょう。

初心者投資家投資家Aさん
クレジットカードでの入金はできるけど、出金はできないんだね。

 

GEMFOREXの出金に関する注意点

GEMFOREXの出金に関する注意点

GEMFOREXで出金する場合について注意点を紹介します。

GEMFOREXの出金時の注意点

  • 出金したらボーナスは消える
  • 他の海外FX業者のように入金方法に出金方法が縛られない
  • 海外銀行送金は月2回目以降から手数料かかる

使い方によってはボーナスの消失や手数料が必要以上にかかってしまうかもしれませんので、出金の際は次のことに注意しましょう。

GemForexの出金の注意点①出金したらボーナスは消える

GEMFOREXでは一度出金してしまうと同口座内のボーナスをすべて失うことになってしまいます。

初心者投資家投資家Sさん
少し出金してもボーナスは全部消えるの?
有識者現役トレーダー
はい、たとえ少額でもボーナスが消えてしまうので、出金タイミングはある程度まとまった額の利益が出てからをおすすめします。

また、出金した後1ヶ月間は100%ボーナスが50%になる点にも注意が必要です。

他の海外FX業者と異なり、GEMFOREXではこまめに出金して利益を確保するということが逆に損失になることが多いです。

そのためGEMFOREXを最も効果的に活用するには、目標額を決めて達成したら一気に出金するというやり方が有効です。

豪華な口座開設ボーナスや入金ボーナスを利用して少ない元手で大きく稼いだら出金するのが効率的といえるでしょう。

GemForexの出金の注意点②他の海外FX業者のように入金方法に出金方法が縛られない

GemForexは他海外FX業者のように、入金方法が出金方法に縛られません。

[chat face=”pro2.png” name=”教授” align=”left” border=”none” bg=”gray”]他の海外FX業者の多くは入金方法と同じ方法で出金するという仕組みを取っていて、例えば、クレジットカード入金の場合、入金額はクレジットカードに出金する必要があります。[/chat]

初心者投資家投資家Aさん
確かに、他の海外FX業者は入金した金額までは入金した方法で出金する必要があったよね。
有識者現役トレーダー
はい。これはマネーロンダリング対策のためなのですが、GEMFOREXは「クレジットカードで入金したものを国内銀行口座へ出金する」ことが可能です。

出金条件として入金の際に登録(使用)したクレジットカード情報・クレジットカードと本人のセルフィ―(下の画像を参照)の提出が必要になります。

クレジットカードの登録は銀行送金を行ったページの「上記内容にて出金する」と書いてあるボタンのすぐ上で行うことが可能です。

クレジットカードの登録

GemForexの出金の注意点③海外銀行送金は月2回目以降から手数料かかる

GEMFOREXでは海外銀行送金は月2回目以上の利用で手数料がかかるなど、細かいルールがあります。

わかりやすいように銀行送金で利益を出金する場合の注意事項をまとめてみました。何度も出金すると思わぬ手数料が発生してしまうので注意しましょう。

銀行送金の注意事項

  • 日本以外への銀行口座を指定した場合、月に2回目以降の手数料は自己負担。
    (1回につき出金額の2%または20万円以下は一律4500円)
  • 組み戻し等の際、手数料が発生した場合は自己負担
  • 出金手数料は無料だが「中継手数料(2,500円)」と「受取手数料(2,500円)」の合計5,000円ほどの手数料がかかる

特に次に記載した銀行は半額の2,500円の手数料で受け取ることができます。

  • 楽天銀行
  • ソニー銀行
  • 住信SBIネット銀行
初心者投資家投資家Aさん
上記の銀行に出金するとお得だね!

GEMFOREXの出金できない(拒否)トラブルは本当?

GEMFOREXの出金できない(拒否)トラブルは本当?

GemForexと検索すると、次のように「出金拒否」というワードが出てきます。

GemForexの出金拒否の検索ワード

初心者投資家投資家Sさん
これってGemForexで出金拒否が起こる可能性があるってこと?
有識者現役トレーダー
たしかに、これを見ると、GemForexは不当な出金拒否があるのでは?と不安になるかもしれませんが、結論から言うと、よほどの悪質行為や利用規約違反がなければ出金拒否はありません。

GemForexで出金拒否の噂がある理由

出金拒否はGEMFOREX側に正当な理由がなければ行われませんので安心してください。
GEMFOREX公式サイトでもこの出金拒否の噂について言及しています。

出金拒否の噂についての言及引用:gforex.asia

出金拒否の噂について公式見解

引用:gforex.asia

GEMFOREXでは実際に過去4件の出金拒否が行われていますが、いずれも儲けすぎたからという恣意的な理由で出金拒否にはしていません。

どちらかというとそのうち3件はトレーダー側の悪質な行為によるものだということが発覚しています。

素行の悪いトレーダーが出金拒否を理由に口コミで広めた悪い噂だけが今でも残っているというのが真相ではないでしょうか。

 

口コミでも出金拒否に関してはGEMFOREX側を擁護する発言が多く見られました。
出金サポートの対応も好印象と捉えられる内容が多かったです。

また、もう1件の方はGEMFOREX側のシステムバグによるもので、顧客の方との協議を通じて円満に解決しています。

初心者投資家投資家Aさん
ちなみに、どんな行為がGemForexの禁止行為にあたるの?
有識者現役トレーダー
出金拒否される可能性のあるGEMFOREXの利用規約(禁止事項)は次の通りになっています。

【利用者の禁止行為】

1.実在しない利用者として利用者登録する行為
2.口座名義人以外の者が利用する行為
3.1つの口座を複数名で利用する行為
2.利用者登録の際、申告事項に虚偽の記載・誤記・または意図して記入漏れの状態で登録する行為
5.ひとつの登録種別につき、同一人物がアカウントを2つ以上持つ行為(ただし当社が特別に認めた場合を除く)
6.故意・過失に関わらず、当社の営業を妨害する行為
7.当社及び委託先企業の著作権その他の権利を侵害する行為
8.当社または第三者を中傷し名誉を傷つけ、不利益をもたらす行為
9.著作権等の知的財産権、肖像権等の人格権、その他法律上の権利ないし保護に値する権利の侵害、あるいは関連する法規に違反する行為
10.第三者のプライバシーを侵害する行為
11.違法または疑わしい活動をする行為
12.当社判断で不適切とみなすトレード行為
13.2つの業者(または複数業者)に入金して、両建て取引する行為(同通貨ペア、相関性の高い通貨ペアも含みます)
14.当社複数口座で両建て取引する行為(同通貨ペア、相関性の高い通貨ペアも含みます)
15.第3者同士が同じタイミングで入金やトレードを繰り返し、同じタイミングで出金する行為
16提供サービスやシステムの盲点を狙った悪質とみなす取引
17.経済指標時、アメリカ雇用統計発表時ならびに政府や中央銀行介入など相場が急激に変動するタイミングのみを狙った悪質とみなす取引。
18.事前連絡なしで大きなロット数での取引
19.虚偽の連絡先または第三者の連絡先で登録する行為
20.消費者の判断に誤解を与える行為、または消費者の判断から好ましくないと当社が判断する行為
21.準禁治産者、禁治産者のいずれかであり、申込の際に法定代理人の同意等を得ずに登録する行為
22.18歳未満であるのに利用者として登録する行為
23.反社会行為、法令違反行為及び弊社が適宜禁止する行為
24.反社会勢力者、前科者、法令違反者及び弊社が適宜禁止とする者が利用者として登録する行為
引用:gforex.asia

特にトラブルの原因として気を付けるべき項目は赤字で示してあります。知らずに取引をすると、口座凍結となる恐れがあるのでご注意ください。

gemforexの禁止事項

有識者現役トレーダー
業者間の両建てやシステムの穴をついたトレードが禁止なのはもちろんですが、加えてGEMFOREXでは大きなロット数で取引する場合事前連絡が必要です。

大きなロットとは、Xを確認したところ10ロット以上のことを指します。

少しでも無用なトラブルを避けるために、GemForexの利用規約にはきちんと目を通しましょう。

初心者投資家投資家Aさん
基本的にルールを守っていれば出金拒否は起こらないということだね。
有識者現役トレーダー
はい、規約を守ってトレードしていれば問題ありません。

GemForexで出金できないその他の原因!ポジション保有中など

GemForexで利用規約違反はしていないけど出金できないという方は次のことを確認してみてください。

以下の3点のいずれかに抵触していると出金することはできません。

  • 本人確認書類を提出していない
  • ポジションを保有している
  • 口座名義人本人からの出金依頼でない

出金できない原因について詳しく見ていきましょう。

その他出金できない原因①本人確認書類を提出していない

本人確認書類を提出していない

GemForexに限らず、どの海外FX業者にもいえることですが、出金には初回のみ本人確認書類の提出が必須になります。

次の2種類からいずれか1つずつを手元に用意しましょう。

提出書類 利用可能なもの
身分証明書 運転免許証
パスポート
マイナンバーカード
法人証明書
個人事業証明書
住所証明書 公共料金領収書
クレジットカード・携帯電話会社の請求書
住民票
健康保険証
マイナンバー通知カード

その他の出金できない原因②ポジションを保有している

ポジション保有

GEMFOREXにはポジションをすべて決済しないと出金できないというルールがあります。
これは複数口座間でポジションを持っている場合でも同じです。

その他の出金できない原因③口座名義人本人からの出金依頼でない

本人以外からの出金

出金先の登録口座の名義人がGEMFOREXに登録した名前と異なっている場合など、本人が認可していても出金することはできません。

これはどの業者でもいえることですが、業者側で本当に本人が他人名義の振り込みを許可しているか確認は取れませんので出金の際は必ず自分の名前の口座を利用するようにしましょう。

よかったらシェアしてね!
  • URLをコピーしました!
  • URLをコピーしました!

この記事を書いた人

MeteorTrade のプロフェッショナルチームは、最高品質の仲介サービスを提供するために全力を尽くします。海外FXに関する最新情報をまとめて解説します。

目次